emilspec
An Integrated Publishing, Inc. Site
eMilSpec
An Integrated Publishing Website
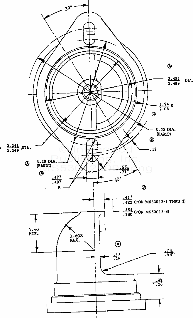
MS53012 Starter, Engine, Electrical: 24-Volt, D.C., 4-1/2-Inch Frame Diameter, Solenoid-Actuated, Light-Duty
For Parts Inquires call
Parts Hangar, Inc
(727) 493-0744
© Copyright 2015 Integrated Publishing, Inc.
A Service Disabled Veteran Owned Small Business